Unbinilium
Unbinilium, also known as eka-radium or simply element 120, is the hypothetical chemical element in the periodic table with symbol Ubn and atomic number 120. Unbinilium and Ubn are the temporary systematic IUPAC name and symbol, which are used until the element is discovered, confirmed, and a permanent name is decided upon. In the periodic table of the elements, it is expected to be an s-block element, an alkaline earth metal, and the second element in the eighth period. It has attracted attention because of some predictions that it may be in the island of stability.
| Theoretical element | ||||||
|---|---|---|---|---|---|---|
| Unbinilium | ||||||
| Pronunciation | /ˌuːnbaɪˈnɪliəm/ | |||||
| Alternative names | element 120, eka-radium | |||||
| Unbinilium in the periodic table | ||||||
| ||||||
| Atomic number (Z) | 120 | |||||
| Group | group 2 (alkaline earth metals) | |||||
| Period | period 8 (theoretical, extended table) | |||||
| Block | s-block | |||||
| Electron configuration | [Og] 8s2 (predicted)[1] | |||||
| Electrons per shell | 2, 8, 18, 32, 32, 18, 8, 2 (predicted) | |||||
| Physical properties | ||||||
| Phase at STP | solid (predicted)[1][2] | |||||
| Melting point | 953 K (680 °C, 1256 °F) (predicted)[1] | |||||
| Boiling point | 1973 K (1700 °C, 3092 °F) (predicted)[3] | |||||
| Density (near r.t.) | 7 g/cm3 (predicted)[1] | |||||
| Heat of fusion | 8.03–8.58 kJ/mol (extrapolated)[2] | |||||
| Atomic properties | ||||||
| Oxidation states | (+1),[4] (+2), (+4), (+6) (predicted)[1][5] | |||||
| Electronegativity | Pauling scale: 0.91 (predicted)[6] | |||||
| Ionization energies | ||||||
| Atomic radius | empirical: 200 pm (predicted)[1] | |||||
| Covalent radius | 206–210 pm (extrapolated)[2] | |||||
| Other properties | ||||||
| Crystal structure | body-centered cubic (bcc)![]() (extrapolated)[8] | |||||
| CAS Number | 54143-58-7 | |||||
| History | ||||||
| Naming | IUPAC systematic element name | |||||
| Isotopes of unbinilium | ||||||
| Experiments and theoretical calculations | ||||||
Unbinilium has not yet been synthesized, despite multiple attempts from German and Russian teams. Another attempt by the Russian team is planned, but the precise timeframe has not been publicly released. Experimental evidence from these attempts shows that the period 8 elements would likely be far more difficult to synthesise than the previous known elements.
Unbinilium's position as the seventh alkaline earth metal suggests that it would have similar properties to its lighter congeners; however, relativistic effects may cause some of its properties to differ from those expected from a straight application of periodic trends. For example, unbinilium is expected to be less reactive than barium and radium and be closer in behavior to strontium, and while it should show the characteristic +2 oxidation state of the alkaline earth metals, it is also predicted to show the +4 and +6 oxidation states, which are unknown in any other alkaline earth metal.
Introduction

| External video | |
|---|---|
The heaviest[lower-alpha 1] atomic nuclei are created in nuclear reactions that combine two other nuclei of unequal size[lower-alpha 2] into one; roughly, the more unequal the two nuclei in terms of mass, the greater the possibility that the two react.[15] The material made of the heavier nuclei is made into a target, which is then bombarded by the beam of lighter nuclei. Two nuclei can fuse into one only if they approach each other closely enough; normally, nuclei (all positively charged) repel each other due to electrostatic repulsion. The strong interaction can overcome this repulsion but only within a very short distance from a nucleus; beam nuclei are thus greatly accelerated in order to make such repulsion insignificant compared to the velocity of the beam nucleus.[16] Coming close alone is not enough for two nuclei to fuse: when two nuclei approach each other, they usually remain together for approximately 10−20 seconds and then part ways (not necessarily in the same composition as before the reaction) rather than form a single nucleus.[16][17] If fusion does occur, the temporary merger—termed a compound nucleus—is an excited state. To lose its excitation energy and reach a more stable state, a compound nucleus either fissions or ejects one or several neutrons,[lower-alpha 3] which carry away the energy. This occurs in approximately 10−16 seconds after the initial collision.[18][lower-alpha 4]
The beam passes through the target and reaches the next chamber, the separator; if a new nucleus is produced, it is carried with this beam.[21] In the separator, the newly produced nucleus is separated from other nuclides (that of the original beam and any other reaction products)[lower-alpha 5] and transferred to a surface-barrier detector, which stops the nucleus. The exact location of the upcoming impact on the detector is marked; also marked are its energy and the time of the arrival.[21] The transfer takes about 10−6 seconds; in order to be detected, the nucleus must survive this long.[24] The nucleus is recorded again once its decay is registered, and the location, the energy, and the time of the decay are measured.[21]
Stability of a nucleus is provided by the strong interaction. However, its range is very short; as nuclei become larger, their influence on the outermost nucleons (protons and neutrons) weakens. At the same time, the nucleus is torn apart by electrostatic repulsion between protons, as it has unlimited range.[25] Nuclei of the heaviest elements are thus theoretically predicted[26] and have so far been observed[27] to primarily decay via decay modes that are caused by such repulsion: alpha decay and spontaneous fission;[lower-alpha 6] these modes are predominant for nuclei of superheavy elements. Alpha decays are registered by the emitted alpha particles, and the decay products are easy to determine before the actual decay; if such a decay or a series of consecutive decays produces a known nucleus, the original product of a reaction can be determined arithmetically.[lower-alpha 7] Spontaneous fission, however, produces various nuclei as products, so the original nuclide cannot be determined from its daughters.[lower-alpha 8]
The information available to physicists aiming to synthesize one of the heaviest elements is thus the information collected at the detectors: location, energy, and time of arrival of a particle to the detector, and those of its decay. The physicists analyze this data and seek to conclude that it was indeed caused by a new element and could not have been caused by a different nuclide than the one claimed. Often, provided data is insufficient for a conclusion that a new element was definitely created and there is no other explanation for the observed effects; errors in interpreting data have been made.[lower-alpha 9]
History
Elements 114 to 118 (flerovium through oganesson) were discovered in "hot fusion" reactions bombarding the actinides plutonium through californium with calcium-48, a quasi-stable neutron-rich isotope which could be used as a projectile to produce more neutron-rich isotopes of superheavy elements.[39] This cannot easily be continued to elements 119 and 120, because it would require a target of the next actinides einsteinium and fermium. Tens of milligrams of these would be needed to create such targets, but only micrograms of einsteinium and picograms of fermium have so far been produced.[40] More practical production of further superheavy elements would require projectiles heavier than 48Ca,[39] but this is expected to be more difficult.[40] Attempts to synthesize elements 119 and 120 push the limits of current technology, due to the decreasing cross sections of the production reactions and their probably short half-lives,[41] expected to be on the order of microseconds.[1][42]
Synthesis attempts
Past
Following their success in obtaining oganesson by the reaction between 249Cf and 48Ca in 2006, the team at the Joint Institute for Nuclear Research (JINR) in Dubna started experiments in March–April 2007 to attempt to create unbinilium with a 58Fe beam and a 244Pu target.[43][44] The attempt was unsuccessful,[45] and the Russian team planned to upgrade their facilities before attempting the reaction again.[45]
- 244
94Pu
+ 58
26Fe
→ 302
120Ubn
* → no atoms
In April 2007, the team at the GSI Helmholtz Centre for Heavy Ion Research in Darmstadt, Germany attempted to create unbinilium using a 238U target and a 64Ni beam:[46]
- 238
92U
+ 64
28Ni
→ 302
120Ubn
* → no atoms
No atoms were detected. The GSI repeated the experiment with higher sensitivity in three separate runs in April–May 2007, January–March 2008, and September–October 2008, all with negative results, reaching a cross section limit of 90 fb.[46]
In 2011, after upgrading their equipment to allow the use of more radioactive targets, scientists at the GSI attempted the rather asymmetrical fusion reaction:[47]
- 248
96Cm
+ 54
24Cr
→ 302
120Ubn
* → no atoms
It was expected that the change in reaction would quintuple the probability of synthesizing unbinilium,[48] as the yield of such reactions is strongly dependent on their asymmetry.[41] Although this reaction is less asymmetric than the 249Cf+50Ti reaction, it also creates more neutron-rich unbinilium isotopes that should receive increased stability from their proximity to the shell closure at N = 184.[49] Three signals were observed in May 2011; a possible assignment to 299Ubn and its daughters was considered,[50] but could not be confirmed,[51][52][49] and a different analysis suggested that what was observed was simply a random sequence of events.[53]
In August–October 2011, a different team at the GSI using the TASCA facility tried a new, even more asymmetrical reaction:[47][54]
- 249
98Cf
+ 50
22Ti
→ 299
120Ubn
* → no atoms
Because of its asymmetry,[55] the reaction between 249Cf and 50Ti was predicted to be the most favorable practical reaction for synthesizing unbinilium, though it produces a less neutron-rich isotope of unbinilium than any other reaction studied. No unbinilium atoms were identified.[54]
This reaction was investigated again in April to September 2012 at the GSI. This experiment used a 249Bk target and a 50Ti beam to produce element 119, but since 249Bk decays to 249Cf with a half-life of about 327 days, both elements 119 and 120 could be searched for simultaneously:
- 249
97Bk
+ 50
22Ti
→ 299
119Uue
* → no atoms - 249
98Cf
+ 50
22Ti
→ 299
120Ubn
* → no atoms
Neither element 119 nor element 120 was observed.[56]
Planned
In May 2021, the JINR announced plans to investigate the 249Cf+50Ti reaction in their new facility.[57] The 249Cf target would be produced by the Oak Ridge National Laboratory in Oak Ridge, Tennessee, United States; the 50Ti beam would be produced by the Hubert Curien Pluridisciplinary Institute in Strasbourg, Alsace, France. If diplomatic relations between Russia and the United States make this impossible, then the 248Cm+54Cr reaction may be investigated instead, with a Russian-produced 248Cm target and a French-produced 54Cr beam, though the cross section would likely be three to ten times lower.[58]
In March 2022, Yuri Oganessian gave a seminar at the JINR considering how one could synthesise element 120 in the 248Cm+54Cr reaction.[59]
Naming
Mendeleev's nomenclature for unnamed and undiscovered elements would call unbinilium eka-radium. The 1979 IUPAC recommendations temporarily call it unbinilium (symbol Ubn) until it is discovered, the discovery is confirmed and a permanent name chosen.[60] Although the IUPAC systematic names are widely used in the chemical community on all levels, from chemistry classrooms to advanced textbooks, scientists who work theoretically or experimentally on superheavy elements typically call it "element 120", with the symbol E120, (120) or 120.[1]
Predicted properties
Nuclear stability and isotopes


The stability of nuclei decreases greatly with the increase in atomic number after curium, element 96, whose half-life is four orders of magnitude longer than that of any currently known higher-numbered element. All isotopes with an atomic number above 101 undergo radioactive decay with half-lives of less than 30 hours. No elements with atomic numbers above 82 (after lead) have stable isotopes.[62] Nevertheless, because of reasons not yet well understood, there is a slight increase of nuclear stability around atomic numbers 110–114, which leads to the appearance of what is known in nuclear physics as the "island of stability". This concept, proposed by University of California professor Glenn Seaborg, explains why superheavy elements last longer than predicted.[63]
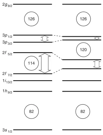
Isotopes of unbinilium are predicted to have alpha decay half-lives of the order of microseconds.[64][65] In a quantum tunneling model with mass estimates from a macroscopic-microscopic model, the alpha-decay half-lives of several unbinilium isotopes (292–304Ubn) have been predicted to be around 1–20 microseconds.[64][66][67][68] Some heavier isotopes may be more stable; Fricke and Waber predicted 320Ubn to be the most stable unbinilium isotope in 1971.[3] Since unbinilium is expected to decay via a cascade of alpha decays leading to spontaneous fission around copernicium, the total half-lives of unbinilium isotopes are also predicted to be measured in microseconds.[1][42] This has consequences for the synthesis of unbinilium, as isotopes with half-lives below one microsecond would decay before reaching the detector.[1][42] Nevertheless, new theoretical models show that the expected gap in energy between the proton orbitals 2f7/2 (filled at element 114) and 2f5/2 (filled at element 120) is smaller than expected, so that element 114 no longer appears to be a stable spherical closed nuclear shell, and this energy gap may increase the stability of elements 119 and 120. The next doubly magic nucleus is now expected to be around the spherical 306Ubb (element 122), but the expected low half-life and low production cross section of this nuclide makes its synthesis challenging.[61]
Given that element 120 fills the 2f5/2 proton orbital, much attention has been given to the compound nucleus 302Ubn* and its properties. Several experiments have been performed between 2000 and 2008 at the Flerov Laboratory of Nuclear Reactions in Dubna studying the fission characteristics of the compound nucleus 302Ubn*. Two nuclear reactions have been used, namely 244Pu+58Fe and 238U+64Ni. The results have revealed how nuclei such as this fission predominantly by expelling closed shell nuclei such as 132Sn (Z = 50, N = 82). It was also found that the yield for the fusion-fission pathway was similar between 48Ca and 58Fe projectiles, suggesting a possible future use of 58Fe projectiles in superheavy element formation.[69]
In 2008, the team at GANIL, France, described the results from a new technique which attempts to measure the fission half-life of a compound nucleus at high excitation energy, since the yields are significantly higher than from neutron evaporation channels. It is also a useful method for probing the effects of shell closures on the survivability of compound nuclei in the super-heavy region, which can indicate the exact position of the next proton shell (Z = 114, 120, 124, or 126). The team studied the nuclear fusion reaction between uranium ions and a target of natural nickel:[70][71]
- 238
92U
+ nat
28Ni
→ 296,298,299,300,302
120Ubn
* → fission
The results indicated that nuclei of unbinilium were produced at high (~70 MeV) excitation energy which underwent fission with measurable half-lives just over 10−18 s.[70][71] Although very short (indeed insufficient for the element to be considered by IUPAC to exist, because a compound nucleus has no internal structure and its nucleons have not been arranged into shells until it has survived for 10−14 s, when it forms an electronic cloud),[72] the ability to measure such a process indicates a strong shell effect at Z = 120. At lower excitation energy (see neutron evaporation), the effect of the shell will be enhanced and ground-state nuclei can be expected to have relatively long half-lives. This result could partially explain the relatively long half-life of 294Og measured in experiments at Dubna. Similar experiments have indicated a similar phenomenon at element 124 but not for flerovium, suggesting that the next proton shell does in fact lie beyond element 120.[70][71] In September 2007, the team at RIKEN began a program utilizing 248Cm targets and have indicated future experiments to probe the possibility of 120 being the next proton magic number (and 184 being the next neutron magic number) using the aforementioned nuclear reactions to form 302Ubn*, as well as 248Cm+54Cr. They also planned to further chart the region by investigating the nearby compound nuclei 296Og*, 298Og*, 306Ubb*, and 308Ubb*.[73]
Atomic and physical
Being the second period 8 element, unbinilium is predicted to be an alkaline earth metal, below beryllium, magnesium, calcium, strontium, barium, and radium. Each of these elements has two valence electrons in the outermost s-orbital (valence electron configuration ns2), which is easily lost in chemical reactions to form the +2 oxidation state: thus the alkaline earth metals are rather reactive elements, with the exception of beryllium due to its small size. Unbinilium is predicted to continue the trend and have a valence electron configuration of 8s2. It is therefore expected to behave much like its lighter congeners; however, it is also predicted to differ from the lighter alkaline earth metals in some properties.[1]
The main reason for the predicted differences between unbinilium and the other alkaline earth metals is the spin–orbit (SO) interaction—the mutual interaction between the electrons' motion and spin. The SO interaction is especially strong for the superheavy elements because their electrons move faster—at velocities comparable to the speed of light—than those in lighter atoms.[4] In unbinilium atoms, it lowers the 7p and 8s electron energy levels, stabilizing the corresponding electrons, but two of the 7p electron energy levels are more stabilized than the other four.[74] The effect is called subshell splitting, as it splits the 7p subshell into more-stabilized and the less-stabilized parts. Computational chemists understand the split as a change of the second (azimuthal) quantum number l from 1 to 1/2 and 3/2 for the more-stabilized and less-stabilized parts of the 7p subshell, respectively.[4][lower-alpha 10] Thus, the outer 8s electrons of unbinilium are stabilized and become harder to remove than expected, while the 7p3/2 electrons are correspondingly destabilized, perhaps allowing them to participate in chemical reactions.[1] This stabilization of the outermost s-orbital (already significant in radium) is the key factor affecting unbinilium's chemistry, and causes all the trends for atomic and molecular properties of alkaline earth metals to reverse direction after barium.[75]
Due to the stabilization of its outer 8s electrons, unbinilium's first ionization energy—the energy required to remove an electron from a neutral atom—is predicted to be 6.0 eV, comparable to that of calcium.[1] The electron of the hydrogen-like unbinilium atom—oxidized so it has only one electron, Ubn119+—is predicted to move so quickly that its mass is 2.05 times that of a non-moving electron, a feature coming from the relativistic effects. For comparison, the figure for hydrogen-like radium is 1.30 and the figure for hydrogen-like barium is 1.095.[4] According to simple extrapolations of relativity laws, that indirectly indicates the contraction of the atomic radius[4] to around 200 pm,[1] very close to that of strontium (215 pm); the ionic radius of the Ubn2+ ion is also correspondingly lowered to 160 pm.[1] The trend in electron affinity is also expected to reverse direction similarly at radium and unbinilium.[75]
Unbinilium should be a solid at room temperature, with melting point 680 °C:[77] this continues the downward trend down the group, being lower than the value 700 °C for radium.[78] The boiling point of unbinilium is expected to be around 1700 °C, which is lower than that of all the previous elements in the group (in particular, radium boils at 1737 °C), following the downward periodic trend.[3] The density of unbinilium has been predicted to be 7 g/cm3, continuing the trend of increasing density down the group: the value for radium is 5.5 g/cm3.[3][2]
Chemical
| Compound | Bond length (Å) |
Bond-dissociation energy (eV) |
|---|---|---|
| Ca2 | 4.277 | 0.14 |
| Sr2 | 4.498 | 0.13 |
| Ba2 | 4.831 | 0.23 |
| Ra2 | 5.19 | 0.11 |
| Ubn2 | 5.65 | 0.02 |
The chemistry of unbinilium is predicted to be similar to that of the alkaline earth metals,[1] but it would probably behave more like calcium or strontium[1] than barium or radium. Like strontium, unbinilium should react vigorously with air to form an oxide (UbnO) and with water to form the hydroxide (Ubn(OH)2), which would be a strong base, and releasing hydrogen gas. It should also react with the halogens to form salts such as UbnCl2.[79] While these reactions would be expected from periodic trends, their lowered intensity is somewhat unusual, as ignoring relativistic effects, periodic trends would predict unbinilium to be even more reactive than barium or radium. This lowered reactivity is due to the relativistic stabilization of unbinilium's valence electron, increasing unbinilium's first ionization energy and decreasing the metallic and ionic radii;[80] this effect is already seen for radium.[1] the chemistry of unbinilium in the +2 oxidation state should be more similar to the chemistry of strontium than to that of radium. On the other hand, the ionic radius of the Ubn2+ ion is predicted to be larger than that of Sr2+, because the 7p orbitals are destabilized and are thus larger than the p-orbitals of the lower shells.[4]
Unbinilium may also show the +4 oxidation state,[1] which is not seen in any other alkaline earth metal,[81] in addition to the +2 oxidation state that is characteristic of the other alkaline earth metals and is also the main oxidation state of all the known alkaline earth metals: this is because of the destabilization and expansion of the 7p3/2 spinor, causing its outermost electrons to have a lower ionization energy than what would otherwise be expected.[1][81] The +6 state involving all the 7p3/2 electrons has been suggested in a hexafluoride, UbnF6.[5] The +1 state may also be isolable.[4] Many unbinilium compounds are expected to have a large covalent character, due to the involvement of the 7p3/2 electrons in the bonding: this effect is also seen to a lesser extent in radium, which shows some 6s and 6p3/2 contribution to the bonding in radium fluoride (RaF2) and astatide (RaAt2), resulting in these compounds having more covalent character.[4] The standard reduction potential of the Ubn2+/Ubn couple is predicted to be −2.9 V, which is almost exactly the same as that for the Sr2+/Sr couple of strontium (−2.899 V).[77]
| Compound | Bond length (Å) |
Bond-dissociation energy (kJ/mol) |
|---|---|---|
| CaAu | 2.67 | 2.55 |
| SrAu | 2.808 | 2.63 |
| BaAu | 2.869 | 3.01 |
| RaAu | 2.995 | 2.56 |
| UbnAu | 3.050 | 1.90 |
In the gas phase, the alkaline earth metals do not usually form covalently bonded diatomic molecules like the alkali metals do, since such molecules would have the same number of electrons in the bonding and antibonding orbitals and would have very low dissociation energies.[82] Thus, the M–M bonding in these molecules is predominantly through van der Waals forces.[75] The metal–metal bond lengths in these M2 molecules increase down the group from Ca2 to Ubn2. On the other hand, their metal–metal bond-dissociation energies generally increase from Ca2 to Ba2 and then drop to Ubn2, which should be the most weakly bound of all the group 2 homodiatomic molecules. The cause of this trend is the increasing participation of the p3/2 and d electrons as well as the relativistically contracted s orbital.[75] From these M2 dissociation energies, the enthalpy of sublimation (ΔHsub) of unbinilium is predicted to be 150 kJ/mol.[75]
| Compound | Bond length (Å) |
Harmonic frequency, cm−1 |
Vibrational anharmonicity, cm−1 |
Bond-dissociation energy (eV) |
|---|---|---|---|---|
| UbnH | 2.38 | 1070 | 20.1 | 1.00 |
| BaH | 2.23 | 1168 | 14.5 | 2.06 |
| UbnAu | 3.03 | 100 | 0.13 | 1.80 |
| BaAu | 2.91 | 129 | 0.18 | 2.84 |
The Ubn–Au bond should be the weakest of all bonds between gold and an alkaline earth metal, but should still be stable. This gives extrapolated medium-sized adsorption enthalpies (−ΔHads) of 172 kJ/mol on gold (the radium value should be 237 kJ/mol) and 50 kJ/mol on silver, the smallest of all the alkaline earth metals, that demonstrate that it would be feasible to study the chromatographic adsorption of unbinilium onto surfaces made of noble metals.[75] The ΔHsub and −ΔHads values are correlated for the alkaline earth metals.[75]
See also
- Island of stability: flerovium–unbinilium–unbihexium
Notes
- In nuclear physics, an element is called heavy if its atomic number is high; lead (element 82) is one example of such a heavy element. The term "superheavy elements" typically refers to elements with atomic number greater than 103 (although there are other definitions, such as atomic number greater than 100[10] or 112;[11] sometimes, the term is presented an equivalent to the term "transactinide", which puts an upper limit before the beginning of the hypothetical superactinide series).[12] Terms "heavy isotopes" (of a given element) and "heavy nuclei" mean what could be understood in the common language—isotopes of high mass (for the given element) and nuclei of high mass, respectively.
- In 2009, a team at JINR led by Oganessian published results of their attempt to create hassium in a symmetric 136Xe + 136Xe reaction. They failed to observe a single atom in such a reaction, putting the upper limit on the cross section, the measure of probability of a nuclear reaction, as 2.5 pb.[13] In comparison, the reaction that resulted in hassium discovery, 208Pb + 58Fe, had a cross section of ~20 pb (more specifically, 19+19
−11 pb), as estimated by the discoverers.[14] - The greater the excitation energy, the more neutrons are ejected. If the excitation energy is lower than energy binding each neutron to the rest of the nucleus, neutrons are not emitted; instead, the compound nucleus de-excites by emitting a gamma ray.[18]
- The definition by the IUPAC/IUPAP Joint Working Party states that a chemical element can only be recognized as discovered if a nucleus of it has not decayed within 10−14 seconds. This value was chosen as an estimate of how long it takes a nucleus to acquire its outer electrons and thus display its chemical properties.[19] This figure also marks the generally accepted upper limit for lifetime of a compound nucleus.[20]
- This separation is based on that the resulting nuclei move past the target more slowly then the unreacted beam nuclei. The separator contains electric and magnetic fields whose effects on a moving particle cancel out for a specific velocity of a particle.[22] Such separation can also be aided by a time-of-flight measurement and a recoil energy measurement; a combination of the two may allow to estimate the mass of a nucleus.[23]
- Not all decay modes are caused by electrostatic repulsion. For example, beta decay is caused by the weak interaction.[28]
- Since mass of a nucleus is not measured directly but is rather calculated from that of another nucleus, such measurement is called indirect. Direct measurements are also possible, but for the most part they have remained unavailable for heaviest nuclei.[29] The first direct measurement of mass of a superheavy nucleus was reported in 2018 at LBNL.[30] Mass was determined from the location of a nucleus after the transfer (the location helps determine its trajectory, which is linked to the mass-to-charge ratio of the nucleus, since the transfer was done in presence of a magnet).[31]
- Spontaneous fission was discovered by Soviet physicist Georgy Flerov,[32] a leading scientist at JINR, and thus it was a "hobbyhorse" for the facility.[33] In contrast, the LBL scientists believed fission information was not sufficient for a claim of synthesis of an element. They believed spontaneous fission had not been studied enough to use it for identification of a new element, since there was a difficulty of establishing that a compound nucleus had only ejected neutrons and not charged particles like protons or alpha particles.[20] They thus preferred to link new isotopes to the already known ones by successive alpha decays.[32]
- For instance, element 102 was mistakenly identified in 1957 at the Nobel Institute of Physics in Stockholm, Stockholm County, Sweden.[34] There were no earlier definitive claims of creation of this element, and the element was assigned a name by its Swedish, American, and British discoverers, nobelium. It was later shown that the identification was incorrect.[35] The following year, LBNL was unable to reproduce the Swedish results and announced instead their synthesis of the element; that claim was also disproved later.[35] JINR insisted that they were the first to create the element and suggested a name of their own for the new element, joliotium;[36] the Soviet name was also not accepted (JINR later referred to the naming of element 102 as "hasty").[37] The name "nobelium" remained unchanged on account of its widespread usage.[38]
- The quantum number corresponds to the letter in the electron orbital name: 0 to s, 1 to p, 2 to d, etc. See azimuthal quantum number for more information.
References
- Hoffman, Darleane C.; Lee, Diana M.; Pershina, Valeria (2006). "Transactinides and the future elements". In Morss; Edelstein, Norman M.; Fuger, Jean (eds.). The Chemistry of the Actinide and Transactinide Elements (3rd ed.). Dordrecht, The Netherlands: Springer Science+Business Media. ISBN 978-1-4020-3555-5.
- Bonchev, Danail; Kamenska, Verginia (1981). "Predicting the properties of the 113-120 transactinide elements". Journal of Physical Chemistry. American Chemical Society. 85 (9): 1177–1186. doi:10.1021/j150609a021.
- Fricke, B.; Waber, J. T. (1971). "Theoretical Predictions of the Chemistry of Superheavy Elements" (PDF). Actinides Reviews. 1: 433–485. Retrieved 7 August 2013.
- Thayer, John S. (2010). "Relativistic Effects and the Chemistry of the Heavier Main Group Elements". Relativistic Methods for Chemists. Challenges and Advances in Computational Chemistry and Physics. 10: 84. doi:10.1007/978-1-4020-9975-5_2. ISBN 978-1-4020-9974-8.
- Cao, Chang-Su; Hu, Han-Shi; Schwarz, W. H. Eugen; Li, Jun (2022). "Periodic Law of Chemistry Overturns for Superheavy Elements". ChemRxiv (preprint). doi:10.26434/chemrxiv-2022-l798p. Retrieved 16 November 2022.
- Pershina, V.; Borschevsky, A.; Anton, J. (2012). "Theoretical predictions of properties of group-2 elements including element 120 and their adsorption on noble metal surfaces". The Journal of Chemical Physics. 136 (134317). doi:10.1063/1.3699232. This article gives the Mulliken electronegativity as 2.862, which has been converted to the Pauling scale via χP = 1.35χM1/2 − 1.37.
- Pershina, Valeria. "Theoretical Chemistry of the Heaviest Elements". In Schädel, Matthias; Shaughnessy, Dawn (eds.). The Chemistry of Superheavy Elements (2nd ed.). Springer Science & Business Media. p. 154. ISBN 9783642374661.
- Seaborg, Glenn T. (1969). "Prospects for further considerable extension of the periodic table" (PDF). Journal of Chemical Education. 46 (10): 626–634. doi:10.1021/ed046p626. Retrieved 22 February 2018.
- Wakhle, A.; Simenel, C.; Hinde, D. J.; et al. (2015). Simenel, C.; Gomes, P. R. S.; Hinde, D. J.; et al. (eds.). "Comparing Experimental and Theoretical Quasifission Mass Angle Distributions". European Physical Journal Web of Conferences. 86: 00061. Bibcode:2015EPJWC..8600061W. doi:10.1051/epjconf/20158600061. ISSN 2100-014X.
- Krämer, K. (2016). "Explainer: superheavy elements". Chemistry World. Retrieved 2020-03-15.
- "Discovery of Elements 113 and 115". Lawrence Livermore National Laboratory. Archived from the original on 2015-09-11. Retrieved 2020-03-15.
- Eliav, E.; Kaldor, U.; Borschevsky, A. (2018). "Electronic Structure of the Transactinide Atoms". In Scott, R. A. (ed.). Encyclopedia of Inorganic and Bioinorganic Chemistry. John Wiley & Sons. pp. 1–16. doi:10.1002/9781119951438.eibc2632. ISBN 978-1-119-95143-8. S2CID 127060181.
- Oganessian, Yu. Ts.; Dmitriev, S. N.; Yeremin, A. V.; et al. (2009). "Attempt to produce the isotopes of element 108 in the fusion reaction 136Xe + 136Xe". Physical Review C. 79 (2): 024608. doi:10.1103/PhysRevC.79.024608. ISSN 0556-2813.
- Münzenberg, G.; Armbruster, P.; Folger, H.; et al. (1984). "The identification of element 108" (PDF). Zeitschrift für Physik A. 317 (2): 235–236. Bibcode:1984ZPhyA.317..235M. doi:10.1007/BF01421260. S2CID 123288075. Archived from the original (PDF) on 7 June 2015. Retrieved 20 October 2012.
- Subramanian, S. (2019). "Making New Elements Doesn't Pay. Just Ask This Berkeley Scientist". Bloomberg Businessweek. Archived from the original on November 14, 2020. Retrieved 2020-01-18.
- Ivanov, D. (2019). "Сверхтяжелые шаги в неизвестное" [Superheavy steps into the unknown]. N+1 (in Russian). Retrieved 2020-02-02.
- Hinde, D. (2014). "Something new and superheavy at the periodic table". The Conversation. Retrieved 2020-01-30.
- Krása, A. (2010). "Neutron Sources for ADS" (PDF). Czech Technical University in Prague. pp. 4–8. S2CID 28796927. Archived from the original (PDF) on 2019-03-03. Retrieved October 20, 2019.
- Wapstra, A. H. (1991). "Criteria that must be satisfied for the discovery of a new chemical element to be recognized" (PDF). Pure and Applied Chemistry. 63 (6): 883. doi:10.1351/pac199163060879. ISSN 1365-3075. S2CID 95737691. Retrieved 2020-08-28.
- Hyde, E. K.; Hoffman, D. C.; Keller, O. L. (1987). "A History and Analysis of the Discovery of Elements 104 and 105". Radiochimica Acta. 42 (2): 67–68. doi:10.1524/ract.1987.42.2.57. ISSN 2193-3405. S2CID 99193729.
- Chemistry World (2016). "How to Make Superheavy Elements and Finish the Periodic Table [Video]". Scientific American. Retrieved 2020-01-27.
- Hoffman, Ghiorso & Seaborg 2000, p. 334.
- Hoffman, Ghiorso & Seaborg 2000, p. 335.
- Zagrebaev, Karpov & Greiner 2013, p. 3.
- Beiser 2003, p. 432.
- Staszczak, A.; Baran, A.; Nazarewicz, W. (2013). "Spontaneous fission modes and lifetimes of superheavy elements in the nuclear density functional theory". Physical Review C. 87 (2): 024320–1. arXiv:1208.1215. Bibcode:2013PhRvC..87b4320S. doi:10.1103/physrevc.87.024320. ISSN 0556-2813. S2CID 118134429.
- Audi, G.; Kondev, F. G.; Wang, M.; et al. (2017). "The NUBASE2016 evaluation of nuclear properties". Chinese Physics C. 41 (3): 030001-128–030001-138. Bibcode:2017ChPhC..41c0001A. doi:10.1088/1674-1137/41/3/030001.
- Beiser 2003, p. 439.
- Oganessian, Yu. Ts.; Rykaczewski, K. P. (2015). "A beachhead on the island of stability". Physics Today. 68 (8): 32–38. Bibcode:2015PhT....68h..32O. doi:10.1063/PT.3.2880. ISSN 0031-9228. OSTI 1337838. S2CID 119531411.
- Grant, A. (2018). "Weighing the heaviest elements". Physics Today. doi:10.1063/PT.6.1.20181113a. S2CID 239775403.
- Howes, L. (2019). "Exploring the superheavy elements at the end of the periodic table". Chemical & Engineering News. Retrieved 2020-01-27.
- Robinson, A. E. (2019). "The Transfermium Wars: Scientific Brawling and Name-Calling during the Cold War". Distillations. Retrieved 2020-02-22.
- "Популярная библиотека химических элементов. Сиборгий (экавольфрам)" [Popular library of chemical elements. Seaborgium (eka-tungsten)]. n-t.ru (in Russian). Retrieved 2020-01-07. Reprinted from "Экавольфрам" [Eka-tungsten]. Популярная библиотека химических элементов. Серебро — Нильсборий и далее [Popular library of chemical elements. Silver through nielsbohrium and beyond] (in Russian). Nauka. 1977.
- "Nobelium – Element information, properties and uses | Periodic Table". Royal Society of Chemistry. Retrieved 2020-03-01.
- Kragh 2018, pp. 38–39.
- Kragh 2018, p. 40.
- Ghiorso, A.; Seaborg, G. T.; Oganessian, Yu. Ts.; et al. (1993). "Responses on the report 'Discovery of the Transfermium elements' followed by reply to the responses by Transfermium Working Group" (PDF). Pure and Applied Chemistry. 65 (8): 1815–1824. doi:10.1351/pac199365081815. S2CID 95069384. Archived (PDF) from the original on 25 November 2013. Retrieved 7 September 2016.
- Commission on Nomenclature of Inorganic Chemistry (1997). "Names and symbols of transfermium elements (IUPAC Recommendations 1997)" (PDF). Pure and Applied Chemistry. 69 (12): 2471–2474. doi:10.1351/pac199769122471.
- Folden III, C. M.; Mayorov, D. A.; et al. (2013). "Prospects for the discovery of the next new element: Influence of projectiles with Z > 20". Journal of Physics: Conference Series. IOP Publishing Ltd. 420 (1). 012007. arXiv:1209.0498. Bibcode:2013JPhCS.420a2007F. doi:10.1088/1742-6596/420/1/012007. S2CID 119275964.
- Gates, J.; Pore, J.; Crawford, H.; Shaughnessy, D.; Stoyer, M. A. (25 October 2022). "The Status and Ambitions of the US Heavy Element Program". osti.gov. doi:10.2172/1896856. OSTI 1896856. S2CID 253391052. Retrieved 13 November 2022.
- Zagrebaev, Karpov & Greiner 2013.
- Hofmann, Sigurd (2013). Greiner, Walter (ed.). Overview and Perspectives of SHE Research at GSI SHIP. pp. 23–32. doi:10.1007/978-3-319-00047-3. ISBN 978-3-319-00046-6.
- "A New Block on the Periodic Table" (PDF). Lawrence Livermore National Laboratory. April 2007. Retrieved 2008-01-18.
- Itkis, M. G.; Oganessian, Yu. Ts. (2007). "Synthesis of New Nuclei and Study of Nuclear Properties and Heavy-Ion Reaction Mechanisms". jinr.ru. Joint Institute for Nuclear Research. Retrieved 23 September 2016.
- Oganessian, Yu. Ts.; Utyonkov, V.; Lobanov, Yu.; et al. (2009). "Attempt to produce element 120 in the 244Pu+58Fe reaction". Phys. Rev. C. 79 (2). 024603. Bibcode:2009PhRvC..79b4603O. doi:10.1103/PhysRevC.79.024603.
- Hoffman, S.; et al. (2008). Probing shell effects at Z = 120 and N = 184 (Report). GSI Scientific Report. p. 131.
- Düllmann, C. E. (20 October 2011). "Superheavy Element Research: News from GSI and Mainz". Retrieved 23 September 2016.
- GSI (5 April 2012). "Searching for the island of stability". www.gsi.de. GSI. Retrieved 23 September 2016.
- Hofmann, S.; Heinz, S.; Mann, R.; et al. (2016). "Review of even element super-heavy nuclei and search for element 120". The European Physical Journal A. 2016 (52): 180. Bibcode:2016EPJA...52..180H. doi:10.1140/epja/i2016-16180-4. S2CID 124362890.
- Hofmann, S.; Heinz, S.; Mann, R.; et al. (2016). "Remarks on the Fission Barriers of SHN and Search for Element 120". In Peninozhkevich, Yu. E.; Sobolev, Yu. G. (eds.). Exotic Nuclei: EXON-2016 Proceedings of the International Symposium on Exotic Nuclei. Exotic Nuclei. pp. 155–164. ISBN 9789813226555.
- Adcock, Colin (2 October 2015). "Weighty matters: Sigurd Hofmann on the heaviest of nuclei". JPhys+. Journal of Physics G: Nuclear and Particle Physics. Retrieved 23 September 2016.
- Hofmann, Sigurd (August 2015). "Search for Isotopes of Element 120 on the Island of SHN". Exotic Nuclei: 213–224. Bibcode:2015exon.conf..213H. doi:10.1142/9789814699464_0023. ISBN 978-981-4699-45-7.
- Heßberger, F. P.; Ackermann, D. (2017). "Some critical remarks on a sequence of events interpreted to possibly originate from a decay chain of an element 120 isotope". The European Physical Journal A. 53 (123): 123. Bibcode:2017EPJA...53..123H. doi:10.1140/epja/i2017-12307-5. S2CID 125886824.
- Yakushev, A. (2012). "Superheavy Element Research at TASCA" (PDF). asrc.jaea.go.jp. Retrieved 23 September 2016.
- Siwek-Wilczyńska, K.; Cap, T.; Wilczyński, J. (April 2010). "How can one synthesize the element Z = 120?". International Journal of Modern Physics E. 19 (4): 500. Bibcode:2010IJMPE..19..500S. doi:10.1142/S021830131001490X.
- Khuyagbaatar, J.; Yakushev, A.; Düllmann, Ch. E.; et al. (December 2020). "Search for elements 119 and 120" (PDF). Physical Review C. 102 (6): 064602. Bibcode:2020PhRvC.102f4602K. doi:10.1103/PhysRevC.102.064602. S2CID 229401931. Retrieved 25 January 2021.
- Sokolova, Svetlana; Popeko, Andrei (24 May 2021). "How are new chemical elements born?". jinr.ru. JINR. Retrieved 4 November 2021.
Previously, we worked mainly with calcium. This is element 20 in the Periodic Table. It was used to bombard the target. And the heaviest element that can be used to make a target is californium, 98. Accordingly, 98 + 20 is 118. That is, to get element 120, we need to proceed to the next particle. This is most likely titanium: 22 + 98 = 120.
There is still much work to adjust the system. I don't want to get ahead of myself, but if we can successfully conduct all the model experiments, then the first experiments on the synthesis of element 120 will probably start this year. - Riegert, Marion (19 July 2021). "In search of element 120 in the periodic table of elements". en.unistra.fr. University of Strasbourg. Retrieved 20 February 2022.
- JINR (29 March 2022). "At seminar on synthesis of element 120". jinr.ru. JINR. Retrieved 17 April 2022.
- Chatt, J. (1979). "Recommendations for the naming of elements of atomic numbers greater than 100". Pure and Applied Chemistry. 51 (2): 381–384. doi:10.1351/pac197951020381.
- Kratz, J. V. (5 September 2011). The Impact of Superheavy Elements on the Chemical and Physical Sciences (PDF). 4th International Conference on the Chemistry and Physics of the Transactinide Elements. Retrieved 27 August 2013.
- de Marcillac, Pierre; Coron, Noël; Dambier, Gérard; et al. (2003). "Experimental detection of α-particles from the radioactive decay of natural bismuth". Nature. 422 (6934): 876–878. Bibcode:2003Natur.422..876D. doi:10.1038/nature01541. PMID 12712201. S2CID 4415582.
- Considine, Glenn D.; Kulik, Peter H. (2002). Van Nostrand's scientific encyclopedia (9th ed.). Wiley-Interscience. ISBN 978-0-471-33230-5. OCLC 223349096.
- Chowdhury, P. Roy; Samanta, C. & Basu, D. N. (2008). "Search for long lived heaviest nuclei beyond the valley of stability". Physical Review C. 77 (4): 044603. arXiv:0802.3837. Bibcode:2008PhRvC..77d4603C. doi:10.1103/PhysRevC.77.044603. S2CID 119207807.
- Chowdhury, R. P.; Samanta, C. & Basu, D.N. (2008). "Nuclear half-lives for α -radioactivity of elements with 100 ≤ Z ≤ 130". Atomic Data and Nuclear Data Tables. 94 (6): 781–806. arXiv:0802.4161. Bibcode:2008ADNDT..94..781C. doi:10.1016/j.adt.2008.01.003. S2CID 96718440.
- Chowdhury, P. Roy; Samanta, C. & Basu, D. N. (2006). "α decay half-lives of new superheavy elements". Phys. Rev. C. 73 (1). 014612. arXiv:nucl-th/0507054. Bibcode:2006PhRvC..73a4612C. doi:10.1103/PhysRevC.73.014612. S2CID 118739116.
- Samanta, C.; Chowdhury, P. Roy & Basu, D.N. (2007). "Predictions of alpha decay half lives of heavy and superheavy elements". Nucl. Phys. A. 789 (1–4): 142–154. arXiv:nucl-th/0703086. Bibcode:2007NuPhA.789..142S. doi:10.1016/j.nuclphysa.2007.04.001. S2CID 7496348.
- Chowdhury, P. Roy; Samanta, C. & Basu, D. N. (2008). "Nuclear half-lives for α-radioactivity of elements with 100 ≤ Z ≤ 130". Atomic Data and Nuclear Data Tables. 94 (6): 781–806. arXiv:0802.4161. Bibcode:2008ADNDT..94..781C. doi:10.1016/j.adt.2008.01.003. S2CID 96718440.
- JINR (1998–2014). "JINR Publishing Department: Annual Reports (Archive)". jinr.ru. JINR. Retrieved 23 September 2016.
- Natowitz, Joseph (2008). "How stable are the heaviest nuclei?". Physics. 1: 12. Bibcode:2008PhyOJ...1...12N. doi:10.1103/Physics.1.12.
- Morjean, M.; Jacquet, D.; Charvet, J.; et al. (2008). "Fission Time Measurements: A New Probe into Superheavy Element Stability". Phys. Rev. Lett. 101 (7). 072701. Bibcode:2008PhRvL.101g2701M. doi:10.1103/PhysRevLett.101.072701. PMID 18764526.
- "Kernchemie" [Nuclear Chemistry] (in German). Retrieved 23 September 2016.
- Morita, K. (28 September 2007). "Future Plan of the Experimental Program on Synthesizing the Heaviest Element at RIKEN" (PDF). Archived from the original (PDF) on 3 April 2015. Retrieved 23 September 2016.
- Fægri Jr., Knut; Saue, Trond (2001). "Diatomic molecules between very heavy elements of group 13 and group 17: A study of relativistic effects on bonding". The Journal of Chemical Physics. American Institute of Physics. 115 (6): 2456. Bibcode:2001JChPh.115.2456F. doi:10.1063/1.1385366.
- Pershina, Valeria (2014). "Theoretical Chemistry of the Heaviest Elements". In Schädel, Matthias; Shaughnessy, Dawn (eds.). The Chemistry of Superheavy Elements (2nd ed.). Springer-Verlag. pp. 204–7. doi:10.1007/978-3-642-37466-1. ISBN 978-3-642-37465-4. S2CID 122675117.
- Pyykkö, Pekka (2011). "A suggested periodic table up to Z ≤ 172, based on Dirac–Fock calculations on atoms and ions". Physical Chemistry Chemical Physics. 13 (1): 161–8. Bibcode:2011PCCP...13..161P. doi:10.1039/c0cp01575j. PMID 20967377.
- Fricke, Burkhard (1975). "Superheavy elements: a prediction of their chemical and physical properties". Recent Impact of Physics on Inorganic Chemistry. Structure and Bonding. 21: 89–144. doi:10.1007/BFb0116498. ISBN 978-3-540-07109-9. Retrieved 4 October 2013.
- Lide, D. R., ed. (2005). CRC Handbook of Chemistry and Physics (86th ed.). Boca Raton (FL): CRC Press. ISBN 0-8493-0486-5.
- Emsley, John (2011). Nature's Building Blocks: An A-Z Guide to the Elements (New ed.). New York, NY: Oxford University Press. p. 586. ISBN 978-0-19-960563-7.
- Seaborg (c. 2006). "transuranium element (chemical element)". Encyclopædia Britannica. Retrieved 2010-03-16.
- Greenwood, Norman N.; Earnshaw, Alan (1997). Chemistry of the Elements (2nd ed.). Butterworth-Heinemann. p. 28. ISBN 978-0-08-037941-8.
- Keeler, James; Wothers, Peter (2003). Why Chemical Reactions Happen. Oxford University Press. p. 74. ISBN 978-0-19-924973-2.
- Skripnikov, L.V.; Mosyagin, N.S.; Titov, A.V. (January 2013). "Relativistic coupled-cluster calculations of spectroscopic and chemical properties for element 120". Chemical Physics Letters. 555: 79–83. arXiv:1202.3527. Bibcode:2013CPL...555...79S. doi:10.1016/j.cplett.2012.11.013. S2CID 96581438.
- Knight, L. B.; Easley, W. C.; Weltner, W.; Wilson, M. (January 1971). "Hyperfine Interaction and Chemical Bonding in MgF, CaF, SrF, and BaF molecules". The Journal of Chemical Physics. 54 (1): 322–329. Bibcode:1971JChPh..54..322K. doi:10.1063/1.1674610. ISSN 0021-9606.
- Constants of Diatomic Molecules. New York: Van Nostrand-Reinhold. 1979.
Bibliography
- Audi, G.; Kondev, F. G.; Wang, M.; Huang, W. J.; Naimi, S. (2017). "The NUBASE2016 evaluation of nuclear properties" (PDF). Chinese Physics C. 41 (3): 030001. Bibcode:2017ChPhC..41c0001A. doi:10.1088/1674-1137/41/3/030001.
- Beiser, A. (2003). Concepts of modern physics (6th ed.). McGraw-Hill. ISBN 978-0-07-244848-1. OCLC 48965418.
- Hoffman, D. C.; Ghiorso, A.; Seaborg, G. T. (2000). The Transuranium People: The Inside Story. World Scientific. ISBN 978-1-78-326244-1.
- Kragh, H. (2018). From Transuranic to Superheavy Elements: A Story of Dispute and Creation. Springer. ISBN 978-3-319-75813-8.
- Zagrebaev, V.; Karpov, A.; Greiner, W. (2013). "Future of superheavy element research: Which nuclei could be synthesized within the next few years?" (PDF). Journal of Physics: Conference Series. 420 (1). 012001. arXiv:1207.5700. Bibcode:2013JPhCS.420a2001Z. doi:10.1088/1742-6596/420/1/012001. ISSN 1742-6588. S2CID 55434734.


