Non-orthogonal frequency-division multiplexing
Non-orthogonal frequency-division multiplexing (N-OFDM) is a method of encoding digital data on multiple carrier frequencies with non-orthogonal intervals between frequency of sub-carriers.[1][2][3] N-OFDM signals can be used in communication and radar systems.
| Passband modulation |
|---|
![]() |
| Analog modulation |
| Digital modulation |
| Hierarchical modulation |
| Spread spectrum |
| See also |
|
Subcarriers system

The low-pass equivalent N-OFDM signal is expressed as:[3][2]
where are the data symbols, is the number of sub-carriers, and is the N-OFDM symbol time. The sub-carrier spacing for makes them non-orthogonal over each symbol period.
History
The history of N-OFDM signals theory was started in 1992 from the Patent of Russian Federation No. 2054684.[1] In this patent, Vadym Slyusar proposed the 1st method of optimal processing for N-OFDM signals after Fast Fourier transform (FFT).
In this regard need to say that W. Kozek and A. F. Molisch wrote in 1998 about N-OFDM signals with that "it is not possible to recover the information from the received signal, even in the case of an ideal channel."[4]
In 2001, V. Slyusar proposed non-orthogonal frequency digital modulation (N-OFDM) as an alternative of OFDM for communications systems.[5]
The next publication about this method has priority in July 2002[2] before the conference paper regarding SEFDM of I. Darwazeh and M.R.D. Rodrigues (September, 2003).[6]
Advantages of N-OFDM
Despite the increased complexity of demodulating N-OFDM signals compared to OFDM, the transition to non-orthogonal subcarrier frequency arrangement provides several advantages:
- higher spectral efficiency, which allows to reduce the frequency band occupied by the signal and improve the electromagnetic compatibility of many terminals;
- adaptive detuning from interference concentrated in frequency by changing the nominal frequencies of the subcarriers;[7]
- an ability to take into account Doppler frequency shifts of subcarriers when working with subscribers moving at high speeds;
- reduction of the peak factor of the multi-frequency signal mixture.
Idealized system model
This section describes a simple idealized N-OFDM system model suitable for a time-invariant AWGN channel.[8]
Transmitter N-OFDM signals

An N-OFDM carrier signal is the sum of a number of not-orthogonal subcarriers, with baseband data on each subcarrier being independently modulated commonly using some type of quadrature amplitude modulation (QAM) or phase-shift keying (PSK). This composite baseband signal is typically used to modulate a main RF carrier.
is a serial stream of binary digits. By inverse multiplexing, these are first demultiplexed into parallel streams, and each one mapped to a (possibly complex) symbol stream using some modulation constellation (QAM, PSK, etc.). Note that the constellations may be different, so some streams may carry a higher bit-rate than others.
A Digital Signal Processor (DSP) is computed on each set of symbols, giving a set of complex time-domain samples. These samples are then quadrature-mixed to passband in the standard way. The real and imaginary components are first converted to the analogue domain using digital-to-analogue converters (DACs); the analogue signals are then used to modulate cosine and sine waves at the carrier frequency, , respectively. These signals are then summed to give the transmission signal, .
Demodulation
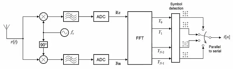
Receiver

The receiver picks up the signal , which is then quadrature-mixed down to baseband using cosine and sine waves at the carrier frequency. This also creates signals centered on , so low-pass filters are used to reject these. The baseband signals are then sampled and digitised using analog-to-digital converters (ADCs), and a forward FFT is used to convert back to the frequency domain.
This returns parallel streams, which use in appropriate symbol detector.
Demodulation after FFT
The 1st method of optimal processing for N-OFDM signals after FFT was proposed in 1992.[1]
Demodulation without FFT
N-OFDM+MIMO

The combination N-OFDM and MIMO technology is similar to OFDM. To the building of MIMO system can be used digital antenna array as transmitter and receiver of N-OFDM signals.
Filter-bank multi-carrier modulation (FBMC)
Filter-bank multi-carrier modulation (FBMC) is.[14][15][16] As example of FBMC can consider Wavelet N-OFDM.
Wavelet N-OFDM
N-OFDM has become a technique for power-line communications (PLC). In this area of research, a wavelet transform is introduced to replace the DFT as the method of creating non-orthogonal frequencies. This is due to the advantages wavelets offer, which are particularly useful on noisy power lines.[17]
To create the sender signal the wavelet N-OFDM uses a synthesis bank consisting of a -band transmultiplexer followed by the transform function
On the receiver side, an analysis bank is used to demodulate the signal again. This bank contains an inverse transform
followed by another -band transmultiplexer. The relationship between both transform functions is
Spectrally-efficient FDM (SEFDM)
N-OFDM is a spectrally efficient method.[6][18] All SEFDM methods are similar to N-OFDM.[6][19][20][21][22][23][24]
Generalized frequency division multiplexing (GFDM)
Generalized frequency division multiplexing (GFDM) is.
References
- RU2054684 (C1) G01R 23/16. Amplitude-frequency response measurement technique// Slyusar V. – Appl. Number SU 19925055759, Priority Data: 19920722. – Official Publication Data: 1996-02-20
- Slyusar, V. I. Smolyar, V. G. Multifrequency operation of communication channels based on super-Rayleigh resolution of signals// Radio electronics and communications systems c/c of Izvestiia- vysshie uchebnye zavedeniia radioelektronika.. – 2003, volume 46; part 7, pages 22–27. – Allerton press Inc. (USA)
- Slyusar, V. I. Smolyar, V. G. The method of nonorthogonal frequency-discrete modulation of signals for narrow-band communication channels// Radio electronics and communications systems c/c of Izvestiia- vysshie uchebnye zavedeniia radioelektronika. – 2004, volume 47; part 4, pages 40–44. – Allerton press Inc. (USA)
- W. Kozek and A. F. Molisch. "Nonorthogonal pulseshapes for multicarrier communications in doubly dispersive channels," IEEE J. Sel. Areas Commun., vol. 16, no. 8, pp. 1579–1589, Oct. 1998.
- Pat. of Ukraine № 47835 A. IPС8 H04J1/00, H04L5/00. Method of frequency-division multiplexing of narrow-band information channels// Sliusar Vadym Іvanovych, Smoliar Viktor Hryhorovych. – Appl. № 2001106761, Priority Data 03.10.2001. – Official Publication Data 15.07.2002, Official Bulletin № 7/2002
- M. R. D. Rodrigues and I. Darwazeh. A Spectrally Efficient Frequency Division Multiplexing Based Communications System.// InOWo'03, 8th International OFDM-Workshop, Proceedings, Hamburg, DE, September 24–25, 2003. - https://www.researchgate.net/publication/309373002
- Vasilii A. Maystrenko, Vladimir V. Maystrenko, Alexander Lyubchenko. Interference Immunity Analysis of an Optimal Demodulator Under Peak Multiplexing of N-OFDM Spectrum.//Conference Paper of 2017 International Siberian Conference on Control and Communications (SIBCON).· June 2017. - DOI: 10.1109/SIBCON.2017.7998458
- Vasilii A. Maystrenko, Vladimir V. Maystrenko, Evgeny Y. Kopytov, Alexander Lyubche. Analysis of Operation Algorithms of N-OFDM Modem in Channels with AWGN.// Conference Paper of 2017 Dynamics of Systems, Mechanisms and Machines (Dynamics). November 2017. DOI: 10.1109/Dynamics.2017.8239486
- Maystrenko, V. A., & Maystrenko, V. V. (2014). The modified method of demodulation N-OFDM signals. 2014 12th International Conference on Actual Problems of Electronics Instrument Engineering (APEIE). doi:10.1109/apeie.2014.7040919
- Dimitrios Karampatsis, M.R.D. Rodrigues and Izzat Darwazeh. Implications of linear phase dispersion on OFDM and Fast-OFDM systems.// London Communications Symposium 2002. - http://www.ee.ucl.ac.uk/lcs/previous/LCS2002/LCS112.pdf.
- D. Karampatsis and I. Darwazeh. Performance Comparison of OFDM and FOFDM Communication Systems in Typical GSM Multipath Environments. // London Communications Symposium 2003 (LCS2003), London, UK, Pp. 360 – 372. - http://www.ee.ucl.ac.uk/lcs/previous/LCS2003/94.pdf.
- K. Li and I. Darwazeh. System performance comparison of Fast-OFDM system and overlapping Multi-carrier DS-CDMA scheme.// London Communications Symposium 2006. - http://www.ee.ucl.ac.uk/lcs/previous/LCS2006/54.pdf.
- M.R.D. Rodrigues, Izzat Darwazeh. Fast OFDM: A Proposal for Doubling the Data Rate of OFDM Schemes.// International Conference on Communications, ICT 2002, Beijing, China, June 2002. - Pp. 484 – 487
- Bellanger M.G. FBMC physical layer: a primer / M.G. Bellanger et al. - January 2010.
- Farhang-Boroujeny B. OFDM Versus Filter Bank Multicarrier//IEEE Signal Processing Magazine.— 2011.— Vol. 28, № 3.— P. 92— 112.
- Behrouz Farhang-Boroujeny. Filter Bank Multicarrier for Next Generation of Communication Systems.//Virginia Tech Symposium on Wireless Personal Communications. — June 2–4, 2010.
- S. Galli; H. Koga; N. Nodokama (May 2008). Advanced Signal Processing for PLCs: Wavelet-OFDM. 2008 IEEE International Symposium on Power Line Communications and Its Applications. pp. 187–192. doi:10.1109/ISPLC.2008.4510421. ISBN 978-1-4244-1975-3. S2CID 12146430.
- Safa Isam A Ahmed. Spectrally Efficient FDM Communication Signals and Transceivers: Design, Mathematical Modelling and System Optimization.//A thesis submitted for the degree of PhD. — Communications and Information Systems Research Group Department of Electronic and Electrical Engineering University College London. — October 2011.- http://discovery.ucl.ac.uk/1335609/1/1335609.pdf
- Masanori Hamamura, Shinichi Tachikawa. Bandwidth efficiency improvement for multi-carrier systems. //15th IEEE International Symposium on Personal, Indoor and Mobile Radio Communications, vol. 1, Sept. 2004, pp. 48 — 52.
- Li. D. B. A high spectral efficiency technology and method for overlapped frequency division multiplexing [P]. 2006, PCT/CN2006/002012 (in Chinese)
- Xing Yang, Wenbao Ait, Tianping Shuait, Daoben Li. A Fast Decoding Algorithm for Non-orthogonal Frequency Division Multiplexing Signals // Communications and Networking in China, 2007. CHINACOM '07. — 22-24 Aug. 2007, P. 595—598.
- I. Kanaras, A. Chorti, M. Rodrigues, and I. Darwazeh, "A combined MMSE-ML detection for a spectrally efficient non orthogonal FDM signal, " in Broadband Communications, Networks and Systems, 2008. BROADNETS 2008. 5th International Conference on, Sept. 2008, pp. 421 −425.
- I. Kanaras, A. Chorti, M. Rodrigues, and I. Darwazeh, "Spectrally efficient FDM signals: Bandwidth gain at the expense of receiver complexity, " in IEEE International Conference on Communications, 2009. ICC ’09., June 2009, pp. 1 −6.
- Bharadwaj, S., Nithin Krishna, B.M.; Sutharshun, V.; Sudheesh, P.; Jayakumar, M. Low Complexity Detection Scheme for NOFDM Systems Based on ML Detection over Hyperspheres. 2011 International Conference on Devices and Communications, ICDeCom 2011 - Proceedings, Mesra, 24-25 February 2011, Pp. 1-5.
