Bell HSL
The Bell HSL (Model 61) was an American 1950s anti-submarine warfare (ASW) helicopter built by the Bell Helicopter company, the only tandem rotor type designed by Bell.
| HSL (Bell Model 61) | |
|---|---|
![]() | |
| The U.S. Navy Bell XHSL-1 prototype in flight. | |
| Role | Tandem-rotor ASW helicopter |
| National origin | United States |
| Manufacturer | Bell Helicopter |
| First flight | 3 March 1953 |
| Introduction | 1957 |
| Retired | 1960 |
| Primary user | United States Navy |
| Number built | 53 including one static test article |
Design and development
The prototype Bell Model 61 first flew on 3 March 1953; it had been designed to meet a United States Navy requirement for an anti-submarine warfare helicopter. In June 1950, the Model 61 was announced as the winner of the competition, and three XHSL-1 evaluation aircraft were ordered. The Model 61 had a rectangular-section fuselage structure and four-leg, six-wheel landing gear. It was powered by a Pratt & Whitney R-2800 radial engine mounted in the aft fuselage. Crew included two pilots and two sonar operators.[1]
Because of the urgency of the requirement, low-rate production was ordered almost immediately after Bell received a contract for three XHSL-1s. The Navy eventually contracted for at least 160 production aircraft, including 18 intended for the British Royal Navy. Bureau Numbers were assigned for a total of 234. Because of development problems that resulted in poor schedule performance to the contract, only 50 were built. Although all were delivered, after service test and acceptance only a handful were used, for the development of airborne mine sweeping. The rest were delivered directly into storage and were subsequently struck off.
Operational history
The HSLs were not used operationally. Approximately seven were assigned to the U.S. Naval Air Mine Defense Unit at Panama City, Florida, for the development of airborne mine-sweeping, the first arriving in September 1956 and the last being struck off in early 1960.
Variants
- XHSL-1
- two experimental flight test and one static test article
- HSL-1
- production version, 50 built.
- Bell Model 61
- Company designation for the HSL
- Bell D-116
- A proposed civil variant of the Model 61, not proceeded with.
- Bell D-216
- A proposed variant of the HSL, not proceeded with.
- Bell D-238
- A proposed variant of the HSL, not proceeded with.
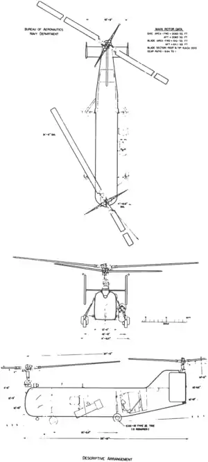
Specifications (HSL-1)

Data from NAVAER-1519B - Bell HSL-1 :Characteristic Summary[3] Bell Aircraft since 1935[4]<
General characteristics
- Crew: 4 (search mission), 3 (attack mission)
- Capacity: Hoist capacity 800 lb (363 kg)
- Length: 39 ft 11 in (12.17 m) (fuselage only)
- Width: 11 ft 6 in (3.5 m) (rotors folded)
- Height: 14 ft 6 in (4.42 m)
- Empty weight: 13,073 lb (5,930 kg)
- Gross weight: 16,958 lb (7,692 kg) (search mission)
- 16,853 lb (7,644 kg) (attack mission)
- Max takeoff weight: 26,500 lb (12,020 kg)
- Fuel capacity: 450 US gal (375 imp gal; 1,703 L) maximum
- Powerplant: 1 × Pratt & Whitney R-2800-50 18-cyl. two-row air-cooled radial piston engine, 2,100 hp (1,600 kW) for sea level take-off at 2,600 rpm
- normal power at sea level, 1,900 hp (1,417 kW) at 2,400 rpm
- Main rotor diameter: 2 × 51 ft 6 in (15.70 m)
- Main rotor area: 3,840 sq ft (357 m2)
- Blade section: NACA 0015
Performance
- Maximum speed: 124 mph (200 km/h, 108 kn) (search mission)
- Cruise speed: 96 mph (154 km/h, 83 kn) at 1,500 ft (457 m)
- Range: 350 mi (560 km, 300 nmi)
- Combat range: 140 mi (230 km, 120 nmi)
- Endurance: 3 hours 30 minutes loiter on search mission
- Service ceiling: 14,400 ft (4,400 m) at take-off weight with normal power
- Absolute hover ceiling OGE: 10,750 ft (3,277 m)
- Rate of climb: 1,475 ft/min (7.49 m/s) normal power, sea level, at take-off weight in forward flight
- 1,200 ft/min (6.1 m/s) in vertical flight with take-off power, sea level, at take-off weight in forward flight
Armament
- Bombs: 2x Mark 43 torpedoes
Avionics
- Dipping Sonar
References
- Notes
- Hearst Magazines (August 1953). "Navy's Most Powerful Helicopter to Hunt Submarines". Popular Mechanics. Hearst Magazines. p. 121.
- "Flight 1956 pg.518". flightglobal.com. Retrieved 18 October 2014.
- NAVAER-1519B - Bell HSL-1 :Characteristic Summary (Revision 10-51 ed.). Navaer. 30 August 1958.
- Pelletier, Alain J. (1992). Bell Aircraft since 1935 (1st ed.). London: Putnam & Company Ltd. pp. 100–102. ISBN 1-55750-056--8. OCLC 25625769.
- Bibliography
- Andrade, John M. U.S.Military Aircraft Designation and Serials since 1909. Leicester, UK: Midland Counties Publications, 1979. ISBN 0-904597-22-9.
- The Illustrated Encyclopedia of Aircraft (Part Work 1982–1985). London, Orbis Publishing, 1985.
- Thomason, Tommy H. The Forgotten Bell HSL. Simi Valley, CA: Ginter Books, 2005. ISBN 978-0-942612-70-7
