page 1
page 2
page 3
page 4
page 5
page 6
page 7
page 8
page 9
page 10
page 11
page 12
page 13
page 14
< prev
-
next >
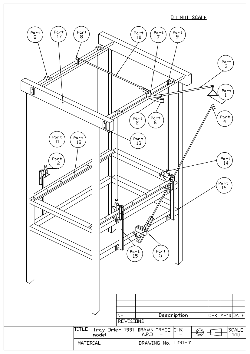
Crop processing Drying dryit small semi continuous tray dryer
(
Printable PDF
)