Arc suppression
Arc suppression is the reduction of sparks formed when current-carrying contacts are separated. The spark is a luminous discharge of highly energized electrons and ions, and is an electric arc.[1][2][3][4]
Uses

(left) Pristine contacts from a relay
(right) The nearly destroyed contacts from a relay operated under power for nearly 100,000 cycles
There are several possible areas of use of arc suppression methods, among them metal film deposition and sputtering, arc flash protection, electrostatic processes where electrical arcs are not desired (such as powder painting, air purification, polyvinylidene fluoride (PVDF) film poling) and contact current arc suppression. In industrial, military and consumer electronic design, the latter method generally applies to devices such as electromechanical power switches, relays and contactors. In this context, arc suppression is contact protection.
Contact protection
Every time an electrical power device (for example: heaters, lamps, motors, transformers or similar power loads) turns on or off, its switch, relay or contactor transitions either from a closed to an open state (break arc) or from an open to a closed state (make arc and bounce arc), under load, an electrical arc occurs between the two contact points (electrodes) of the switch. The break arc is typically more energetic and thus more destructive.[5][6] Arcs are initiated by thermal emission when contacts open, and are initiated by either field emission or thermal emission when contacts close.
The temperature of the resulting electric arc is very high (tens of thousands of degrees), causing the metal on the contact surfaces to melt, pool and migrate with the current. The high temperature of the arc cracks the surrounding gas molecules creating ozone, carbon monoxide, and other compounds. The arc energy slowly destroys the contact metal, causing some material to escape into the air as fine particulate matter. This very activity causes the material in the contacts to degrade quickly, resulting in device failure.[4][7]
Arc suppression is an area of interest in engineering because of the destructive effects of the electrical arc to electromechanical power switches, relays and contactors’ points of contact.[8]
Effectiveness

(left) Unsuppressed AC power electrical arc
(right) An identical arc with suppression.
The efficacy of an arc suppression solution for contact protection can be assessed, by comparing the arc intensity with the help of the following methods:
- Visual inspection of the arc: The electrical arc can be visually observed on an electromechanical power switch, relay and contactor, with visible contacts, while the contacts are opening and closing under load.
- Graphical representation of measurements obtained by an oscilloscope: The electrical arc can be observed by using an oscilloscope to trace the voltage wave form across the contact terminals while the contacts are opening and closing under load.
Common devices
Common devices used to prevent arcs are capacitors, snubbers, diodes, Zener diodes, varistors, and transient voltage suppressors.[9] Contact arc suppression solutions that are considered more effective:
- Two-wire contact arc suppressor
- Solid state relays are not electromechanical, have no contacts, and, thus, do not create electrical arcs.[10]
- Hybrid power relays
- Hybrid power contactors
Specialized devices

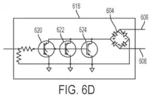
The circuit diagram is part of a patent application for an arc suppressor intended to protect the contacts of electrical contactors. It suppresses arcs by providing an alternate path around contacts as they open or close. [11][12]
The coil of the contactor is connected to the suppressor, allowing the suppressor to sense when the contacts are about to open or close.
Benefits of arc suppression
Arc suppression techniques can produce a number of benefits:[12]
- Minimised contact damage from arcing and therefore reduced maintenance, repair and replacement frequency.
- Increased contact reliability.
- Reduced heat generation resulting in less heat management measures such as venting and fans.
- Reduced ozone and pollutant emissions.
- Reduced electromagnetic interference (EMI) from arcs - a common source of radiated EMI.
See also
References
- "Electric arc". TheFreeDictionary.com. Retrieved August 22, 2011.
- Martin, T. L. (n.d.). "Electric arcing". Archived from the original on 2012-03-31. Retrieved August 22, 2011.
- Howatson, A. M. (1976). An Introduction to Gas Discharges (second ed.). Oxford: Pergamon Press. pp. 47–101. ISBN 9780080205755.
- "Contact Arc Phenomenon" (PDF). Archived from the original (PDF) on 2007-08-13. Retrieved August 22, 2011.
- The National Association of Relay Manufacturers, Engineers’ Relay Handbook, NARM, 8th Edition, 1980, pg 245
- Martin, Perry L. (1999). Electronic Failure Analysis Handbook. McGraw-Hill. pp. 16.1–16.29.
- Martin 1999, p. 1.3
- Tyco P&B, Contact ARC Phenomenon, Tyco Electronics Corporation – P&B, Winston-Salem, NC, Application Note 13C3203, pgs. 1-3
- Tyco P&B, Relay Contact Life, Tyco Electronics Corporation – P&B, Winston-Salem, NC, Application Note 13C3236, pgs. 1-3
- The National Association of Relay Manufacturers, Engineers’ Relay Handbook, NARM, 8th Edition, 1980, Chapter 13
- US 10566150, Reinhold Henke, "Arc suppressor, system, and Method", published February 18, 2020, assigned to Arc Suppression Technologies
- "Features & Benefits Arc Suppression". Retrieved December 6, 2013.